| PARÇA | MALZEME | |
|---|---|---|
|
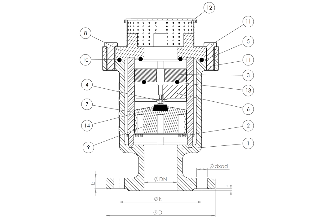
1 |
Gövde |
EN GJS 400-15 |
|
2 |
İç Çember |
304 PASLANMAZ |
|
3 |
Üst PE |
PE |
|
4 |
Sibop |
MS 58 |
|
5 |
Oring |
EPDM |
|
6 |
Orta PE |
PE |
|
7 |
Saplama |
304 PASLANMAZ |
|
8 |
Kapak |
EN GJS 400-15 |
|
9 |
Alt PE |
PE |
|
10 |
Oring |
EPDM |
|
11 |
Civata |
8.8 |
|
12 |
Sac Kapak |
304 PASLANMAZ |
|
13 |
Oring |
EPDM |
|
14 |
Takoz |
EPDM |
|
PN 10 / 16 |
||||||
|---|---|---|---|---|---|---|
|
DN |
ØD |
Øk |
Øg |
f |
b |
ØdxAd. |
|
50 |
165 |
125 |
102 |
3 |
20 |
18x4 |
|
65 |
185 |
145 |
122 |
3 |
20 |
18x4 |
|
80 |
200 |
160 |
138 |
3 |
22 |
18x8 |
|
100 |
220 |
180 |
158 |
3 |
24 |
18x8 |
|
125 |
250 |
210 |
188 |
3 |
26 |
18x8 |
|
150 |
285 |
240 |
212 |
3 |
26 |
22x8 |
|
200 |
340 |
295 |
268 |
3 |
30 |
22x12 |