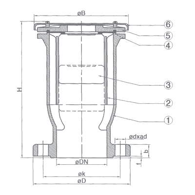
| NO | PARÇA ADI | MALZEME |
|---|---|---|
| 1 | GÖVDE | EN GJS 400-15 |
| 2 | LATERNA | PVC |
| 3 | SİLİNDİR | POLYETHYLEN |
| 4 | RING | EPDM |
| 5 | SİLİNDİR KAPAGI | EN GJS 400-15 |
| 6 | TOZ KAPAĞI | EN GJS 400-15 |
|
PN 10 |
||||||||
|---|---|---|---|---|---|---|---|---|
|
DN |
H |
B |
ØD |
Øk |
Øg |
f |
b |
ØdxAd. |
|
50 |
230 |
160 |
165 |
125 |
102 |
3 |
20 |
18x4 |
|
65 |
235 |
160 |
185 |
145 |
122 |
3 |
20 |
18x4 |
|
80 |
235 |
255 |
200 |
160 |
138 |
3 |
22 |
18x8 |
|
100 |
265 |
255 |
220 |
180 |
158 |
3 |
24 |
18x8 |
|
125 |
345 |
299 |
250 |
210 |
188 |
3 |
26 |
18x8 |
|
150 |
345 |
299 |
285 |
240 |
212 |
3 |
26 |
22x8 |
|
200 |
345 |
299 |
340 |
295 |
268 |
3 |
30 |
22x8 |
|
PN 16 |
||||||||
|---|---|---|---|---|---|---|---|---|
|
DN |
H |
B |
ØD |
Øk |
Øg |
f |
b |
ØdxAd. |
|
50 |
230 |
160 |
165 |
125 |
102 |
3 |
20 |
18x4 |
|
65 |
235 |
160 |
185 |
145 |
122 |
3 |
20 |
18x4 |
|
80 |
235 |
255 |
200 |
160 |
138 |
3 |
22 |
18x8 |
|
100 |
265 |
255 |
220 |
180 |
158 |
3 |
24 |
18x8 |
|
125 |
345 |
299 |
250 |
210 |
188 |
3 |
26 |
18x8 |
|
150 |
345 |
299 |
285 |
240 |
212 |
3 |
26 |
22x8 |
|
200 |
345 |
299 |
340 |
295 |
268 |
3 |
30 |
22x12 |
| BOYUTLAR : | 3202 F4 |
|---|---|
| BAĞLANTILAR : | DIN 2532 - 2533 - ISO 7005/ 2 |
| ÇALIŞMA SICAKLIĞI : | -10 °C +120 °C |
| ANMA BASINCI : | PN 10 / 16/ 25 |
| MALZEME : |
PN 10 / 16 - EN GJS 400-15 |